日标塑料试验片简介
日标塑料试验片是指依据日本工业标准(JIS)要求,用于塑料材料物性测试、性能评价及试验条件确认的参考标准试验片,在日本制造业、材料研发及质量管理体系中被广泛应用。
该类试验片通常作为标准化测试样品,用于拉伸、弯曲、冲击等塑料性能试验,是塑料材料试验过程中不可或缺的基础要素之一。
在日本工业体系中,塑料材料的性能测试通常需要使用符合JIS标准规定形状与尺寸的测试样品,以确保试验方法统一、试验条件可控及试验结果具备可比性。日标塑料试验片正是为满足上述要求而设置的标准试验用样品。
适用标准说明
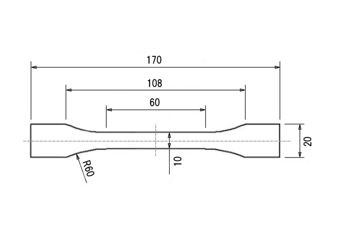
本日标塑料试验片依据JIS K 7139《塑料—测试样品》标准制作。
JIS K 7139对塑料测试样品的类型、形状及基本要求作出了系统规定,适用于多种塑料材料物性测试项目,是日本塑料材料试验中常用的基础性标准之一。
此塑料试验片为A2型多用途测试样品,该类型试样在日本塑料试验体系中应用广泛,可满足多种物性试验的前处理与样品制备需求。
如需其他型号或特殊规格的塑料试验片,可根据实际试验需求向天津友信企业管理有限公司咨询采购。
试验片结构与形式说明
日标塑料试验片为哑铃形拉伸试样,该结构形式适用于塑料材料在受力条件下的力学性能测试,能够有效反映材料在拉伸过程中的性能变化。
试验片的具体尺寸参数依据JIS K 7139标准要求进行设计与加工,尺寸规格详见文末尺寸规格图。
通过统一的试样形状与尺寸,有助于在试验过程中保持受力状态一致,提高试验数据的重复性与可比性。
应用场景
日标塑料试验片主要应用于以下场景:
1、塑料材料力学性能测试
2、塑料产品研发阶段的材料性能评估
3、不同批次或不同配方塑料材料性能对照
4、企业内部质量管理及试验基准统一
5、面向日本市场的产品技术验证与资料准备
对于需要按照日本标准开展塑料性能测试的企业而言,使用日标塑料试验片,有助于提升试验数据在日本工业体系中的认可度和可信度。
日本采购的必要性
在实际应用中,自行加工塑料试验片或使用非日标体系下的测试样品,往往难以完全满足日本工业体系对试样形状一致性、尺寸精度及试验可追溯性的要求,可能对试验结果的可靠性产生影响。
在以下应用需求中,通过日本采购方式获取日标塑料试验片尤为重要:
1、面向日本市场开展塑料材料性能验证
2、按照JIS K 7139实施塑料性能测试
3、与日本客户、研究机构或检测单位进行试验数据对照
4、建立符合日本JIS认证体系要求的材料试验管理流程
通过日本采购渠道获取日标塑料试验片,有助于确保试验片在设计理念、加工方式及实际使用条件方面与日本本土试验要求保持一致。
日本采购服务说明
针对企业在日本采购过程中可能面临的语言沟通、技术确认及采购流程复杂等问题,天津友信企业管理有限公司可提供日标塑料试验片的日本直采服务。采购过程中不设中间商环节,由天津友信直接对接日本本土JIS标准试件制造厂家完成采购。
在具体采购实施过程中,天津友信可协助客户完成以下工作:
1、对接日本原厂,完成日标塑料试验片的直接采购
2、协调采购周期、生产进度及交付节点
3、根据实际需求,协助采购日本JIS标准体系下的其他试验标准试件
通过规范化的采购流程与专业沟通机制,天津友信企业管理有限公司协助客户高效获取满足日本工业标准体系要求的各类试验参考试件,服务于研发验证、检测评估及质量管理等应用场景。
适用对象
本项日标塑料试验片日本采购服务,适用于以下单位和部门:
1、面向日本市场的塑料制品生产企业
2、需要按照JIS标准开展塑料性能测试的企业
3、企业研发中心与质量管理部门
4、检测机构及材料研究单位





微信
电话
返回顶部